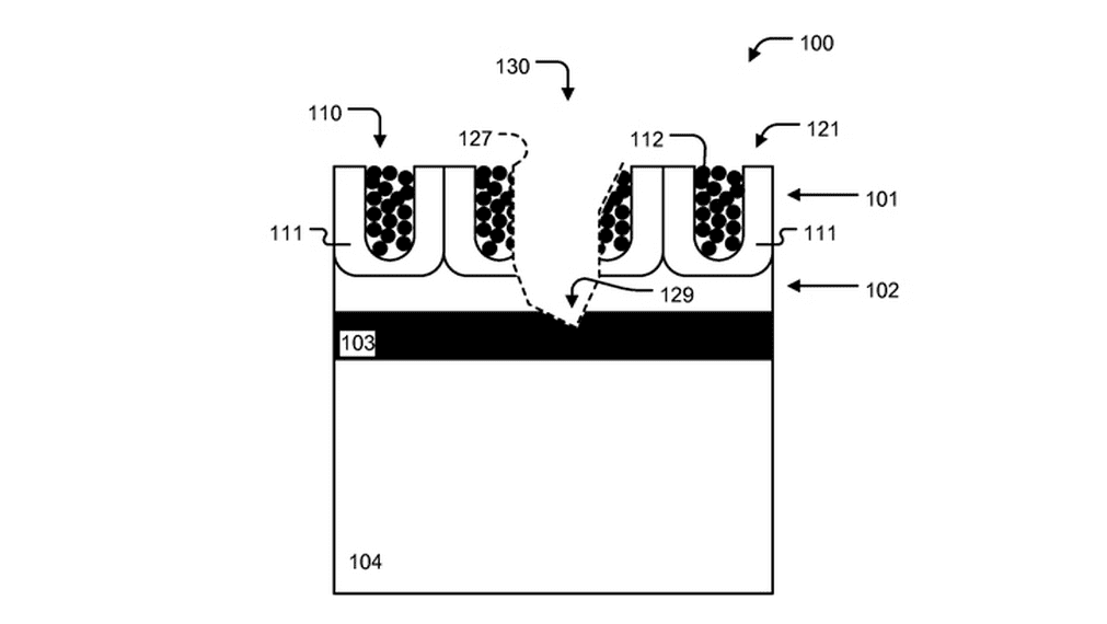
Судя по поданному недавно патенту, технология будет напоминать таковую от LG. Ее суть в использовании метода сокращения физических повреждений на внешних поверхностях устройств. Особое покрытие просто заполняет собой то место, где было повреждение. Патент уже утвержден и в будущем можно ждать качественно новых устройств от Apple.
- Еще из рубрики «Новости» Nissan представил полностью электрический Juke с функцией vehicle-to-grid
- Еще из рубрики «Новости» Positive Technologies обучила ИИ «читать» файлы и искать вредоносное ПО
- Еще из рубрики «Новости» В «Сколково» рассказали об управлении цепями поставок в экономике реального времени
- Еще из рубрики «Новости» У 40% ИТ-руководителей в России не остается времени на мечты
- Еще из рубрики «Новости» Битрикс24 запускает платформу для создания приложений с помощью ИИ
- Еще из рубрики «Новости» PUNKT E приобрела операторский бизнес Sitronics Electro