Samsung запатентовала электронную маску для лица. Она создана для очистки поступающего воздуха и управляется с помощью мобильного устройства.

Samsung, ведущий игрок в полупроводниковой индустрии, зарегистрировал патент на новаторскую маску для лица. Этот продукт, описываемый компанией как «электронная маска», включает встроенные микрочипы для очистки воздуха и имеет возможность синхронизации с мобильным устройством через приложение.
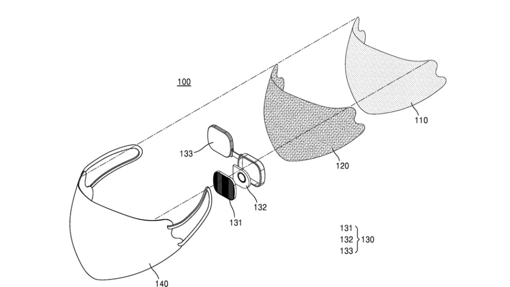
Разработка оборудована фильтром и датчиком, который контролирует эффективность очистки воздуха и сообщает пользователю о необходимости замены фильтра. Помимо этого, «умная» маска способна отслеживать и фиксировать дыхательные циклы пользователя за определенный период времени.

Устройство содержит небольшую плату, которая обеспечивает исполнение четырех различных функций: датчик для контроля фильтра, процессор, беспроводной чип и вентилятор. Известно, что маска работает на аккумуляторе, хотя подробности о его емкости или продолжительности работы не раскрыты.
Датчик взаимодействует с вентилятором, регулируя его скорость в зависимости от состояния фильтра. Если фильтр чистый, вентилятор работает на меньшей скорости, что способствует экономии заряда батареи.

Заявление о патенте было подано Samsung в июле 2023 года, но только недавно опубликовано на сайте патентного ведомства. Вопрос о том, будет ли продукт представлен на рынке, остается открытым. Стоит отметить, что компания Razer уже выпустила аналогичный продукт — прозрачную RGB-маску в 2021 году.